深圳市伊俐信科技有限公司
消防產品,認證,檢測,技術,管理,咨詢服務中心
消防產品,認證,檢測,技術,管理,咨詢服務中心
2022-03-28 14:51:24 責任編輯:深圳市伊俐信科技有限公司 瀏覽:0

認識余壓監控系統
余壓監控系統是一種對建筑內設置機械加壓送風系統的部位(如封閉樓梯間或防煙樓梯間及其前室)的正壓送風余壓值進行實時監控的系統,由余壓傳感器(余壓探測器)、余壓控制器、余壓監控主機以及控制模塊等組成。
其工作原理為通過設置在兩個不同位置的傳感器(如樓梯間與走道、前室與走道)之間的壓力差向余壓控制器發出報警信息,再由余壓控制器控制打開設在加壓送風機旁通管上的電動泄壓裝置進行調壓,使受控區域的余壓值控制在設定的范圍內。
設計實例
某一類高層公共建筑,根據規范要求在其防煙樓梯間及前室設計余壓監控系統。
在每層前室或合用前室設余壓傳感器,余壓傳感器的探測點一側設于前室,另一側設于走道,余壓設定值為25~30Pa,當系統控制區域超壓時,余壓傳感器發出報警信息,余壓監控器聯動控制泄壓閥執行器,根據實際余壓值與設定值的差異調節泄壓閥或電動調節閥,保證前室正壓為設定值。

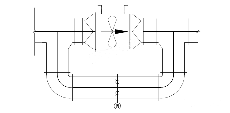
加壓送風機泄壓管安裝示意圖
對于樓梯間,由于余壓控制區域為一個垂直空間且上下貫通,余壓傳感器僅在整個建筑樓梯間高度1/3處安裝一只余壓傳感器探測點,一側設于樓梯間,另一側設于走道,余壓設定值為40~50Pa,當系統控制區域超壓時,余壓傳感器發出報警信息,余壓監控器聯動控制泄壓閥執行器,根據實際余壓值與設定值的差異調節泄壓閥或電動調節閥,保證樓梯間正壓為設定值。


余壓控制器接到超壓報警后,以PID控制方式控制泄壓閥或電動調節閥執行器進行泄壓,調節壓力在設定值范圍。余壓控制器自帶總線隔離器,由配電箱成套廠家安裝于正壓送風機控制配電箱內。余壓傳感器與余壓控制器之間采用功率通信二總線(自帶DC24V電源)。


余壓傳感器安裝圖

泄壓閥安裝圖
全國統一服務熱線
139 2463 7548
郵箱 :591053467@qq.com
總部地址:深圳市光明區鳳凰街道南太云創谷產業中心3棟6樓