深圳市伊俐信科技有限公司
消防產品,認證,檢測,技術,管理,咨詢服務中心
消防產品,認證,檢測,技術,管理,咨詢服務中心
2022-05-16 14:53:20 責任編輯:深圳市伊俐信科技有限公司 瀏覽:0
導讀:根據《通風與空調工程施工質量驗收規范》GB50243-2016第4.2.3條規定:排煙系統風管鋼板厚度可按高壓系統確定,同時明確了薄鋼板法蘭矩形風管不得用于高壓風管。那么爭議點來了:排煙系統的風管是否屬于高壓系統風管,到底薄鋼板法蘭的連接方式能不能用排煙系統?

一、薄鋼板法蘭風管的前世今生
1、金屬矩形風管薄鋼板法蘭連接技術,根據加工形式的不同有所區別:法蘭與風管管壁為一體的形式,稱之為“共板法蘭管”、“無法蘭風管”或叫“TDC法蘭風管”;另一種則是“組合式法蘭”風管(又稱之為TDF法蘭),其薄鋼板法蘭用專用組合法蘭機制作成法蘭的形式,根據風管長度下料后,插入制作好的風管管壁端部,再用鉚(壓)接連為一體。
2、薄鋼板法蘭風管(即共板法蘭風管)從2005年開始在國內進行不同范圍的推廣,至2007年形成了相關的標準工藝流程及標準圖集《薄鋼板法蘭風管制作與安裝》07K133。

3、薄鋼板法蘭風管(即共板法蘭風管)其制作技術在國內是最先進的,采用全自動流水線完成各種加工工序,生產效率高、尺寸準確、成形質量好。與傳統的角鋼法蘭風管相比,節省鋼材,施工操作簡便快捷,施工現場節省占地,減少了制作噪聲,更具有成本優勢。在工程施工中應用越來越廣泛,首先在民用建筑工程中進行廣泛的應用,逐漸擴展到地鐵、隧道、民航工程等領域。
4、薄鋼板法蘭風管工程實例:

二、薄鋼板法蘭風管的連接方式
薄鋼板法蘭風管的連接方式總體來說分為以下四種方式:
1、法蘭插條固定方式:

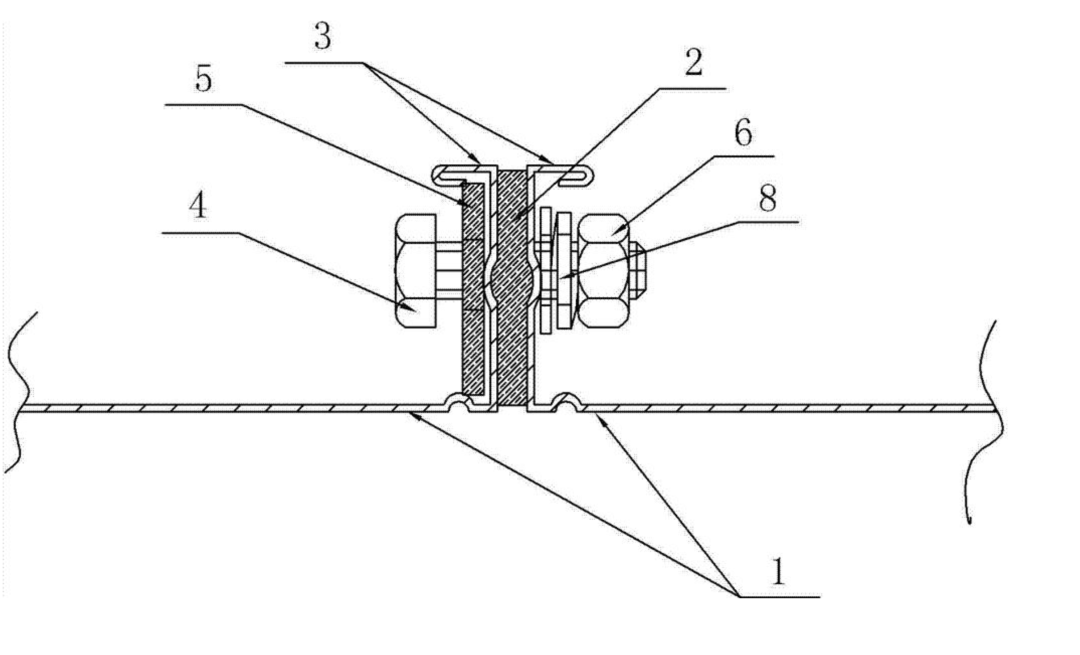
2、彈簧夾固定方式:

3、頂絲卡固定方式:

4、螺栓固定方式:

在實際使用過程中,第2種彈簧夾固定方式是應用最廣泛的方式,但工程施工中若是沒有注意施工細節,或者沒有放置好墊料,或者是安裝完成的風管因外力發生位移、松動等原因影響,這種彈簧夾固定連接方式很容易造成風管漏風。
三、與傳統角鐵法蘭連接方式的對比
傳統的風管連接方式,法蘭一般用角鐵制作(因此也稱為角鐵法蘭),角鐵通常用鉚接的方式固定在風管兩端,兩段風管的法蘭對接后,中間加上密封墊用螺栓連接。角鋼法蘭連接的優點是強度高、穩定性和密封性好、不易變形,缺點是成本較高、效率較低。
1、傳統的角鐵法蘭風管連接方式如下:

2、角鋼法蘭矩形風管制作應符合下列規定:
(1)角鋼法蘭的連接螺栓和鉚釘的規格及間距應符合《通風管道技術規程》JGJ/T141-2017 表 3.2.2 的規定,法蘭的焊縫應熔合良好、飽滿,不得有夾渣和孔洞;法蘭四角處應設螺栓孔,同一批同規格的法蘭應具有互換性。

3、角鋼法蘭風管工程實例:

四、《防排煙技術標準》中的相關規定
根據《建筑防煙排煙系統技術標準》 GB51251-2017(以下簡稱《防排煙技術標準》)中關于薄鋼板風管施工的相關規定如下:
1、《防排煙技術標準》第6.3.1條:
金屬風管的制作和連接應符合下列規定:
(1)風管采用法蘭連接時,風管法蘭材料規格應按本標準表6.3.1選用,其螺栓孔的間距不得大于150mm,矩形風管法蘭四角處應設有螺孔;

(4)無法蘭連接風管的薄鋼板法蘭高度及連接應按本標準表6.3.1的規定執行;
(5)排煙風管的隔熱層應采用厚度不小于40mm的不燃絕熱材料,絕熱材料的施工及風管加固、導流片的設置應按現行國家標準《通風與空調工程施工質量驗收規范》GB 50243的有關規定執行。

2、《防排煙技術標準》第6.3.3條
風管應按系統類別進行強度和嚴密性檢驗,其強度和嚴密性應符合設計要求或下列規定:
(1)風管強度應符合現行行業標準《通風管道技術規程》JGJ/T 141的規定。
(2)排煙風管應按中壓系統風管的規定。
3、《防排煙技術標準》第6.3.4條
風管的安裝應符合下列規定:
(1)風管的規格、安裝位置、標高、走向應符合設計要求,且現場風管的安裝不得縮小接口的有效截面。
(2)風管接口的連接應嚴密、牢固,墊片厚度不應小于3mm,不應凸入管內和法蘭外;排煙風管法蘭墊片應為不燃材料,薄鋼板法蘭風管應采用螺栓連接。
(3)風管吊、支架的安裝應按現行國家標準《通風與空調工程施工質量驗收規范》GB 50243的有關規定執行。?
(4)風管與風機的連接宜采用法蘭連接,或采用不燃材料的柔性短管連接。當風機僅用于防煙、排煙時,不宜采用柔性連接。
五、爭議與探討
根據《通風與空調工程施工質量驗收規范》GB50243-2016要求,排煙系統風管鋼板厚度可按高壓系統確定,同時明確了薄鋼板法蘭矩形風管不得用于高壓風管,那么,排煙系統的風管是否屬于高壓系統風管,到底能不能用薄鋼板法蘭的連接方式?
1、根據《通風與空調工程施工質量驗收規范》GB50243-2016第4.1.4條要求,風管系統按其工作壓力應劃分為微壓、低壓、中壓與高壓四個類別,并應采用相應類別的風管。風管類別應按下表的規定進行劃分:

2、排煙系統風管的實際工作壓力,通常屬于中、低壓系統,《通風與空調工程施工質量驗收規范》GB50243-2016要求排煙系統風管鋼板厚度按高壓系統確定,是考慮排煙系統的重要性采取的一種加強措施。
排煙風管的其他要求,通常可以按照實際承壓系統確定,比如:螺栓和鉚釘的間距可按中壓系統確定,排煙系統的金屬風管仍可以采用薄鋼板法蘭的連接方式等,從《防排煙技術標準》第6.3.3條規定“排煙風管應按中壓系統風管的規定執行”就可以看出。
六、結論
從《建筑防煙排煙系統技術標準》 GB51251-2017和《通風與空調工程施工質量驗收規范》GB50243-2016的相關規定條款可以看出,薄鋼板法蘭風管(共板法蘭風管)是消防防排煙金屬風管的重要加工制作方式,由于其加工工藝成熟、成形方便、更具成本優勢,可以廣泛應用于消防排煙風管系統。為了保障其防排煙系統的穩定性和可靠性,共板法蘭風管必須采用螺栓連接,法蘭墊片應為不燃材料。
全國統一服務熱線
139 2463 7548
郵箱 :591053467@qq.com
總部地址:深圳市光明區鳳凰街道南太云創谷產業中心3棟6樓